Tutti gli orari sono UTC + 2 ore




Apri un nuovo argomento Rispondi all’argomento  [ 17 messaggi ]  Vai alla pagina Precedente  1, 2
 

Autore Messaggio
MessaggioInviato: mercoledì 14 novembre 2012, 10:40 
Non connesso
Master Senator
Master Senator
Avatar utente

Iscritto il: sabato 3 luglio 2010, 15:56
Messaggi: 5712
Località: Svizzera / Ticino & Berna
Provincia: TI
RosTro ha scritto:
Ciao C3n

non mi ero accorto che avevi quotato il messagio di cloxy, non era per fare polemica.

Saluti
Rosario


Ok, nessun problema.





cloxy ha scritto:
non conosco assolutamente il motore lavet,ma in ogni caso non si capisce come mai un motore lavet debba avere un pivot che ruoti su un rubino e l'altro che ruoti nell'ottone.
grazie a tutti x le risposte ma a mio parere il mistero continua....


Non é che deve ma può, come detto non ho la risposta precisa alla tua domanda, ma sarei più sorpreso se non ci fosse.

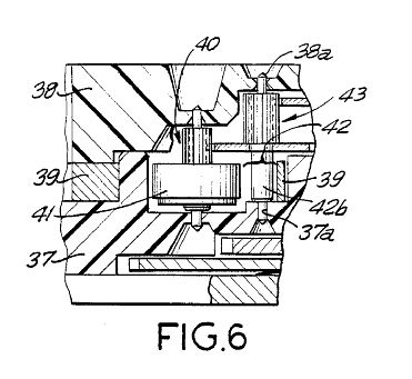
Prova a prendere il movimente e osserva quale dei due pivot del motore lavet tocca la platina, poi prova a capovolgerlo e vedere se l'altro pivot tocca oppure no. In teoria non dovrebbe toccare perché il campo magnetico ha la tendenza a tenere rotore e statore centrati (non in tutti i motori lavet e cosi).

Immagine

tratto da:
http://www.google.com/patents?id=lU00AA ... &q&f=false

Quindi avrai un pivot con più attrito (maggiore superfice di contatto) e l'altro con meno.

Per migliorare la situazione metti a questo punto i rubini, ma se sei taccagno (e il costo in un quarzo é fondamentale, vedrai che troverai anche quarzi senza rubini), cerchi di metterlo solo dov'é veramente necessario. soprattuto se consideri il costo di un rubino a livello di materiale, ma anche a livello di processo di industrializzazione. se invece hai il buget inizi a metterli dove vuoi.

Quanto sopra é la spiegazione che mi do, alla tua domanda. Per una risposta corretta ed esaustiva serve chi li progetta.

Saluti
Christian

_________________
________________
Se quanto scritto può avere un doppio senso, ed uno di questi vi offende, io intendevo certamente l'altro.


Top
 Profilo  
 

MessaggioInviato: mercoledì 14 novembre 2012, 23:15 
Non connesso
Nuovo Iscritto
Nuovo Iscritto

Iscritto il: lunedì 27 aprile 2009, 14:05
Messaggi: 68
Località: Prato
Provincia: Prato
x christian.........grazie x la tua applicazione al mio quesito....quindi se ho ben capito il pivot centrato dentro lo statore ha piu' attrito e "necessita" rubino mentre l'altro pivot ha meno attrito e se ne puo' fare a meno?


Top
 Profilo  
 

Visualizza ultimi messaggi:  Ordina per  
Apri un nuovo argomento Rispondi all’argomento  [ 17 messaggi ]  Vai alla pagina Precedente  1, 2

Tutti gli orari sono UTC + 2 ore


Chi c’è in linea

Visitano il forum: Nessuno e 18 ospiti


Non puoi aprire nuovi argomenti
Non puoi rispondere negli argomenti
Non puoi modificare i tuoi messaggi
Non puoi cancellare i tuoi messaggi
Non puoi inviare allegati

Vai a: